刮刀直接涂布主要用于較重的涂料涂布或在表面不光滑如機織物或和非機織物上的涂布。涂料粘度一般在500到10000cps之間,典型的濕膜涂布厚度范圍在25-125微米之間。本單元包含一個高度、角度可調的刮刀(被安裝在一個精密機加工輥上)。
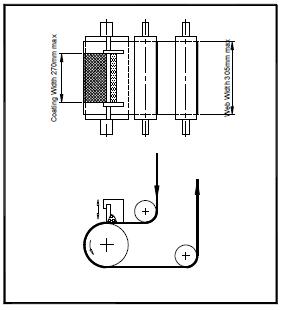
刮刀和受涂底材間的縫隙是通過測微器控制,當改變刮刀的角度,測微器沿著刮刀末端裝上樞軸以避免動作時干擾了縫隙的設置??烧{的白色擋板控制涂布的寬度,最大寬度為270mm(卷筒料的最大寬度為:305mm)

***說明***
卷筒料的最大寬度為:305mm;可調的白色擋板控制涂布的寬度,最大寬度為270mm;刮刀高度、角度可調。



